优先发表栏目展示本刊经同行评议确定正式录用的文章,这些文章目前处在编校过程,尚未确定卷期及页码,但可以根据DOI进行引用。
显示方式:
2026, 47(2): 123-135.
doi: 10.21656/1000-0887.460058
摘要:
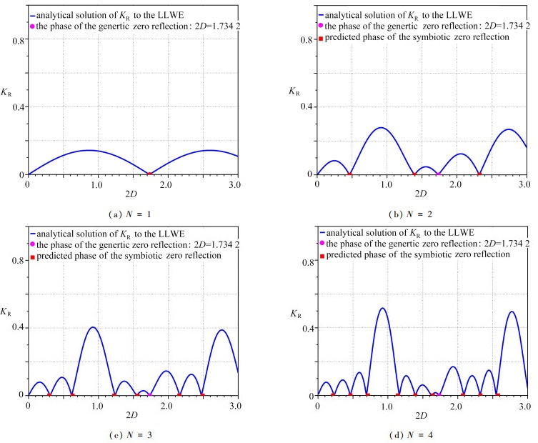
水声隐身对提升水下设备的生存与工作能力意义重大. 该文提出了一种基于局域共振编码超表面的水下低频超宽带声扩散隐身方法. 首先,建立了局域共振超表面单元的声振耦合等效模型,揭示了倒“T”分形结构调制水下反射声波相位的力学机理,并基于遗传算法对宽频编码单元进行了协同优化设计. 进一步,依据编码调控理论,优化了宽频范围内具有良好扩散性能的超表面编码序列. 最后,针对该超表面开展了数值模拟和试验测试. 结果表明:具有倒“T”分形结构的超表面编码单元,在深亚波长尺度展现出良好的超宽频调相性能;编码超表面可在300~1 500 Hz的低宽频范围内实现水下扩散隐身;试验与仿真结果基本一致. 该工作为水下低频超宽带的声学隐身提供了新的途径.
水声隐身对提升水下设备的生存与工作能力意义重大. 该文提出了一种基于局域共振编码超表面的水下低频超宽带声扩散隐身方法. 首先,建立了局域共振超表面单元的声振耦合等效模型,揭示了倒“T”分形结构调制水下反射声波相位的力学机理,并基于遗传算法对宽频编码单元进行了协同优化设计. 进一步,依据编码调控理论,优化了宽频范围内具有良好扩散性能的超表面编码序列. 最后,针对该超表面开展了数值模拟和试验测试. 结果表明:具有倒“T”分形结构的超表面编码单元,在深亚波长尺度展现出良好的超宽频调相性能;编码超表面可在300~1 500 Hz的低宽频范围内实现水下扩散隐身;试验与仿真结果基本一致. 该工作为水下低频超宽带的声学隐身提供了新的途径.
2026, 47(2): 136-144.
doi: 10.21656/1000-0887.450337
摘要:
为研究强制风冷对单向拉挤成型玻璃纤维/乙烯树脂复合材料疲劳性能的影响,进行了准静态拉伸试验,获取其破坏极限载荷并且分析其破坏模式. 在此基础上,采用带有强制风冷的高频疲劳试验机以及监控温度变化的红外摄像机,研究了有无强制风冷措施下该复合材料拉-拉疲劳行为,对比分析了有无强制风冷措施对试件疲劳寿命的影响规律. 试验结果表明:在155~240 MPa应力水平下,未施加强制风冷措施试件表面温度快速上升导致试件失效,而在155 MPa应力水平以下,温度先缓慢上升后出现稳态;采用强制风冷措施后,试件表面温度降低,疲劳寿命显著增长,且在140 MPa应力水平以下,有无强制风冷措施对试件的疲劳寿命无明显影响. 同时,试件疲劳断口以基体开裂为主. 该文所探究的试验方法为纤维增强复合材料疲劳试验设计提供参考和帮助.
为研究强制风冷对单向拉挤成型玻璃纤维/乙烯树脂复合材料疲劳性能的影响,进行了准静态拉伸试验,获取其破坏极限载荷并且分析其破坏模式. 在此基础上,采用带有强制风冷的高频疲劳试验机以及监控温度变化的红外摄像机,研究了有无强制风冷措施下该复合材料拉-拉疲劳行为,对比分析了有无强制风冷措施对试件疲劳寿命的影响规律. 试验结果表明:在155~240 MPa应力水平下,未施加强制风冷措施试件表面温度快速上升导致试件失效,而在155 MPa应力水平以下,温度先缓慢上升后出现稳态;采用强制风冷措施后,试件表面温度降低,疲劳寿命显著增长,且在140 MPa应力水平以下,有无强制风冷措施对试件的疲劳寿命无明显影响. 同时,试件疲劳断口以基体开裂为主. 该文所探究的试验方法为纤维增强复合材料疲劳试验设计提供参考和帮助.
2026, 47(2): 145-157.
doi: 10.21656/1000-0887.450323
摘要:
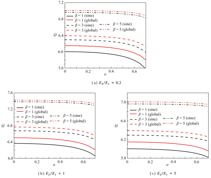
由多种工程材料组成的复合材料层合结构因其卓越的可设计性和优良的力学性能,在建筑工程、航天航空、汽车工业等领域有着广泛的应用. 该文研究了温度环境中正交各向异性固支层合梁的热力学行为,并基于热弹性理论推导出了热应力和位移的精确解. 该方法适用于荷载和变温环境共同作用下,任意厚度和层数的正交各向异性固支层合梁. 首先,引入单位脉冲函数和Dirac函数,将固支边界等效为简支边界和一组纵向边界反力. 其次,以位移和应力作为状态变量,并联合基本方程建立状态空间方程,利用Fourier级数将状态空间方程进行简化. 然后,根据相邻层界面处位移和应力的连续性关系,推导出层合梁顶层和底层之间的位移和应力关系. 最后,利用层合结构上下表面应力和位移的边界条件,最终确定正交各向异性固支层合梁内任意一点的位移和应力. 收敛性和对比分析表明了该方法的有效性和准确性. 同时,探究了温度环境和长厚比对正交各向异性固支层合梁内位移和应力分布的影响.
由多种工程材料组成的复合材料层合结构因其卓越的可设计性和优良的力学性能,在建筑工程、航天航空、汽车工业等领域有着广泛的应用. 该文研究了温度环境中正交各向异性固支层合梁的热力学行为,并基于热弹性理论推导出了热应力和位移的精确解. 该方法适用于荷载和变温环境共同作用下,任意厚度和层数的正交各向异性固支层合梁. 首先,引入单位脉冲函数和Dirac函数,将固支边界等效为简支边界和一组纵向边界反力. 其次,以位移和应力作为状态变量,并联合基本方程建立状态空间方程,利用Fourier级数将状态空间方程进行简化. 然后,根据相邻层界面处位移和应力的连续性关系,推导出层合梁顶层和底层之间的位移和应力关系. 最后,利用层合结构上下表面应力和位移的边界条件,最终确定正交各向异性固支层合梁内任意一点的位移和应力. 收敛性和对比分析表明了该方法的有效性和准确性. 同时,探究了温度环境和长厚比对正交各向异性固支层合梁内位移和应力分布的影响.
2026, 47(2): 158-177.
doi: 10.21656/1000-0887.450342
摘要:
对于实践中常见的三层地基的竖向附加应力与位移计算问题,现有理论方法尚不能进行合理且可便捷操作的解析. 为了在理论计算方面解决此问题,基于弹性理论建立了三层地基的层状弹性半空间分析模型,通过中间变量转换,运用变量状态空间理论与Hankel积分变换方法,推导出了矩形均布垂直荷载下三层地基竖向附加应力与位移的紧凑解析解,并提出了避免数值溢出的高效率数值计算实现方法,包括地表沉降和地基内部竖向附加应力与位移的高精度数值积分边界处理方法. 实例分析结果表明:该文方法与FLAC3D数值模拟结果吻合良好,与规范建议的有限深度地基模型的计算误差约为8%;对于各层差异明显的三层地基,当地表下一层土体厚度大于荷载宽度时,现行规范的均质地基方法计算的地基中附加应力误差较大;对由上而下依次为中-软-硬土层的地基,在土体深度与荷载宽度之比≤0.75时,三层地基理论的计算值小于传统均质地基方法的结果,反之,传统方法可能低估了地基中的附加应力. 该文方法揭示出上两层土体不同厚度时,地基的中上部区域的附加应力差异较为显著,而增大最上面一层土体厚度,可明显提高地基中沿深度的应力扩散效率.
对于实践中常见的三层地基的竖向附加应力与位移计算问题,现有理论方法尚不能进行合理且可便捷操作的解析. 为了在理论计算方面解决此问题,基于弹性理论建立了三层地基的层状弹性半空间分析模型,通过中间变量转换,运用变量状态空间理论与Hankel积分变换方法,推导出了矩形均布垂直荷载下三层地基竖向附加应力与位移的紧凑解析解,并提出了避免数值溢出的高效率数值计算实现方法,包括地表沉降和地基内部竖向附加应力与位移的高精度数值积分边界处理方法. 实例分析结果表明:该文方法与FLAC3D数值模拟结果吻合良好,与规范建议的有限深度地基模型的计算误差约为8%;对于各层差异明显的三层地基,当地表下一层土体厚度大于荷载宽度时,现行规范的均质地基方法计算的地基中附加应力误差较大;对由上而下依次为中-软-硬土层的地基,在土体深度与荷载宽度之比≤0.75时,三层地基理论的计算值小于传统均质地基方法的结果,反之,传统方法可能低估了地基中的附加应力. 该文方法揭示出上两层土体不同厚度时,地基的中上部区域的附加应力差异较为显著,而增大最上面一层土体厚度,可明显提高地基中沿深度的应力扩散效率.
2026, 47(2): 178-188.
doi: 10.21656/1000-0887.460176
摘要:
自由表面处应力强度因子是超高压容器典型裂纹扩展及寿命预测过程中的核心计算参数,在分段线性插值方法的基础之上加以改进,提出了一种基于高阶多项式拟合计算的方法. 以盲底裂纹为例,采用不同次数的多项式拟合了不同采集数据量下的应力数据;按该方法进行了不同裂纹下自由表面处应力强度因子的计算,并围绕多项式次数和采集数据量展开研究,探究了二者对计算结果的影响规律;在不同的裂纹深长比下,对比分析了该方法与文献中推荐的线性插值方法及有限元法的差异. 结果表明,计算结果随着多项式次数的增加,表现出逐渐逼近且收敛的趋势,常规三次与高阶多项式拟合的计算结果最小相对误差约为-30%;采集数据量不断增多时,计算结果逐渐向稳定值收敛,对比数据量偏少与偏多场景下的计算结果,其最大相对误差约为11%;该方法与文献中的线性插值方法及有限元法的计算结果均基本一致,吻合度较高,且适用于裂纹动态扩展及寿命预测过程中.
自由表面处应力强度因子是超高压容器典型裂纹扩展及寿命预测过程中的核心计算参数,在分段线性插值方法的基础之上加以改进,提出了一种基于高阶多项式拟合计算的方法. 以盲底裂纹为例,采用不同次数的多项式拟合了不同采集数据量下的应力数据;按该方法进行了不同裂纹下自由表面处应力强度因子的计算,并围绕多项式次数和采集数据量展开研究,探究了二者对计算结果的影响规律;在不同的裂纹深长比下,对比分析了该方法与文献中推荐的线性插值方法及有限元法的差异. 结果表明,计算结果随着多项式次数的增加,表现出逐渐逼近且收敛的趋势,常规三次与高阶多项式拟合的计算结果最小相对误差约为-30%;采集数据量不断增多时,计算结果逐渐向稳定值收敛,对比数据量偏少与偏多场景下的计算结果,其最大相对误差约为11%;该方法与文献中的线性插值方法及有限元法的计算结果均基本一致,吻合度较高,且适用于裂纹动态扩展及寿命预测过程中.
2026, 47(2): 189-202.
doi: 10.21656/1000-0887.450287
摘要:
提出了一种基于损伤依赖的常规态型近场动力学(damage-dependent ordinary state-based peridynamics, DD-OSBPD)完全热力耦合模型,该模型考虑了因键断裂出现裂纹损伤而产生的新的表面效应,引入键损伤修正因子,对表面修正因子进行二次修正,以提高近场动力学(peridynamics, PD)模型在裂纹损伤处的计算精度,并运用OpenMP并行计算技术实现了对该模型的数值计算. 分别采用DD-OSBPD热力耦合模型,常规态型近场动力学(ordinary state-based peridynamics, OSBPD)热力耦合模型和有限元方法对受均匀拉伸载荷作用的含中心裂纹板的热力耦合问题进行了模拟计算,对DD-OSBPD热力耦合模型的有效性进行了分析验证. 基于DD-OSBPD热力耦合模型,该文对不同淬火温度下陶瓷板的裂纹损伤扩展进行了模拟计算,研究了不同淬火温度对材料抗热冲击性的影响,并与试验结果进行了对比分析,结果表明,数值模拟结果与试验研究结果显示了相同的裂纹扩展规律,且吻合良好,进一步对该模型的正确性进行了验证.
提出了一种基于损伤依赖的常规态型近场动力学(damage-dependent ordinary state-based peridynamics, DD-OSBPD)完全热力耦合模型,该模型考虑了因键断裂出现裂纹损伤而产生的新的表面效应,引入键损伤修正因子,对表面修正因子进行二次修正,以提高近场动力学(peridynamics, PD)模型在裂纹损伤处的计算精度,并运用OpenMP并行计算技术实现了对该模型的数值计算. 分别采用DD-OSBPD热力耦合模型,常规态型近场动力学(ordinary state-based peridynamics, OSBPD)热力耦合模型和有限元方法对受均匀拉伸载荷作用的含中心裂纹板的热力耦合问题进行了模拟计算,对DD-OSBPD热力耦合模型的有效性进行了分析验证. 基于DD-OSBPD热力耦合模型,该文对不同淬火温度下陶瓷板的裂纹损伤扩展进行了模拟计算,研究了不同淬火温度对材料抗热冲击性的影响,并与试验结果进行了对比分析,结果表明,数值模拟结果与试验研究结果显示了相同的裂纹扩展规律,且吻合良好,进一步对该模型的正确性进行了验证.
2026, 47(2): 203-218.
doi: 10.21656/1000-0887.450338
摘要:
发展海洋能符合国家的“双碳”战略目标,大规模利用VIVACE提取海流能时需要多振子协同组合发电,但多振子的干扰效应会形成比较紊乱的流场,造成VIVACE振动响应不稳定. 为此,提出刚性连接结构以解决多振子流致振动造成的干扰. 利用RANS方法和Spalart-Allmaras湍流模型,结合动网格和UDF技术,模拟分离式串列双PTC圆柱和刚性连接双PTC圆柱在L=1.5D,L=2.5D,L=3.5D三种间距比下的流致振动响应、振动稳定性及瞬时输出功率稳定性. 结果表明,间距比增加会使得刚性连接时振动幅值稳定性减小,与分离式相比较,在三种间距比下刚性连接均可以改善振动稳定性和瞬时输出功率稳定性,但改善效果随着间距比增加而减弱;引入净阻尼系数衡量分离式串列双PTC圆柱和刚性连接串列双PTC圆柱振动过程中的系统能量变化,发现不稳定的净阻尼系数会导致系统能量的不稳定最终形成振动响应的不稳定.
发展海洋能符合国家的“双碳”战略目标,大规模利用VIVACE提取海流能时需要多振子协同组合发电,但多振子的干扰效应会形成比较紊乱的流场,造成VIVACE振动响应不稳定. 为此,提出刚性连接结构以解决多振子流致振动造成的干扰. 利用RANS方法和Spalart-Allmaras湍流模型,结合动网格和UDF技术,模拟分离式串列双PTC圆柱和刚性连接双PTC圆柱在L=1.5D,L=2.5D,L=3.5D三种间距比下的流致振动响应、振动稳定性及瞬时输出功率稳定性. 结果表明,间距比增加会使得刚性连接时振动幅值稳定性减小,与分离式相比较,在三种间距比下刚性连接均可以改善振动稳定性和瞬时输出功率稳定性,但改善效果随着间距比增加而减弱;引入净阻尼系数衡量分离式串列双PTC圆柱和刚性连接串列双PTC圆柱振动过程中的系统能量变化,发现不稳定的净阻尼系数会导致系统能量的不稳定最终形成振动响应的不稳定.
2026, 47(2): 219-229.
doi: 10.21656/1000-0887.460061
摘要:
首先举例说明,基于离散等价方程提出了非结构网格有限差分法(UFDM),提高了有限差分法几何适应性. 在有限差分法求解曲线坐标系下热传导方程时,坐标变换导致出现几何诱导误差. 这一现象通过采用中心格式求解温度场方程给出说明. 根据差分格式截断误差的精度定义,理论上论证了几何诱导误差导致降阶的必然性. 其次提出了验证一阶精度的保线性考核模型,据此得出了差分格式在非均匀网格难以保证考核模型一阶精度的结论. 在此基础上,提出了基于梯度重构的保线性算法. 数值计算表明,对任意形状结构网格计算线性分布温度场,均可得到误差为机器精度0量级的数值解,为开发全自动温度场计算软件提供了理论与实践基础.
首先举例说明,基于离散等价方程提出了非结构网格有限差分法(UFDM),提高了有限差分法几何适应性. 在有限差分法求解曲线坐标系下热传导方程时,坐标变换导致出现几何诱导误差. 这一现象通过采用中心格式求解温度场方程给出说明. 根据差分格式截断误差的精度定义,理论上论证了几何诱导误差导致降阶的必然性. 其次提出了验证一阶精度的保线性考核模型,据此得出了差分格式在非均匀网格难以保证考核模型一阶精度的结论. 在此基础上,提出了基于梯度重构的保线性算法. 数值计算表明,对任意形状结构网格计算线性分布温度场,均可得到误差为机器精度0量级的数值解,为开发全自动温度场计算软件提供了理论与实践基础.
2026, 47(2): 230-242.
doi: 10.21656/1000-0887.460020
摘要:
近期, Breitenbach和Borzì构造了一类求解常微分方程最优控制问题的序列二次Hamilton(sequential quadratic Hamiltonian, SQH)方法. 他们证明了该迭代方法在连续时间情形下的单调收敛性. 然而, 该迭代方法在离散时间情形下的收敛性质尚未被解决. 该文构造了一类中点时间离散格式,并证明了其能保持SQH迭代的单调收敛性. 数值实验验证了该方法的有效性及收敛性.
近期, Breitenbach和Borzì构造了一类求解常微分方程最优控制问题的序列二次Hamilton(sequential quadratic Hamiltonian, SQH)方法. 他们证明了该迭代方法在连续时间情形下的单调收敛性. 然而, 该迭代方法在离散时间情形下的收敛性质尚未被解决. 该文构造了一类中点时间离散格式,并证明了其能保持SQH迭代的单调收敛性. 数值实验验证了该方法的有效性及收敛性.
2026, 47(2): 243-256.
doi: 10.21656/1000-0887.460021
摘要:
基于糖皮质激素诱导胰岛素抵抗,建立了一类新的胰岛素、血糖和糖皮质激素的糖尿病模型,探究了糖尿病的复杂发病机制. 首先,运用线性化方法、极限系统理论以及Dulac判据,证明了平衡点的局部和全局稳定性. 其次,选取了影响糖尿病浓度的关键参数,通过直接微分法,开展了关键参数对正平衡点的敏感性分析,探究了关键参数如何影响胰岛素和糖皮质激素的分泌与作用,进而帮助调控血糖水平的波动. 最后,运用MATLAB进行数值模拟,不仅验证了理论分析的正确性,还模拟了不同干预治疗下血糖浓度的变化趋势,发现选取合适的关键参数对血糖浓度的控制至关重要,为糖尿病临床治疗方案的制定提供了理论依据.
基于糖皮质激素诱导胰岛素抵抗,建立了一类新的胰岛素、血糖和糖皮质激素的糖尿病模型,探究了糖尿病的复杂发病机制. 首先,运用线性化方法、极限系统理论以及Dulac判据,证明了平衡点的局部和全局稳定性. 其次,选取了影响糖尿病浓度的关键参数,通过直接微分法,开展了关键参数对正平衡点的敏感性分析,探究了关键参数如何影响胰岛素和糖皮质激素的分泌与作用,进而帮助调控血糖水平的波动. 最后,运用MATLAB进行数值模拟,不仅验证了理论分析的正确性,还模拟了不同干预治疗下血糖浓度的变化趋势,发现选取合适的关键参数对血糖浓度的控制至关重要,为糖尿病临床治疗方案的制定提供了理论依据.
编辑部公告
更多>
渝公网安备50010802005915号